德钦县省级重点建设项目清单
德钦县省级重点建设项目共有51个,已保障25个项目,未报批项目26个项目,用地保障率49.02%。
1、 3个“四个一百”项目如下图:

2、 6个“五网”项目如下图:

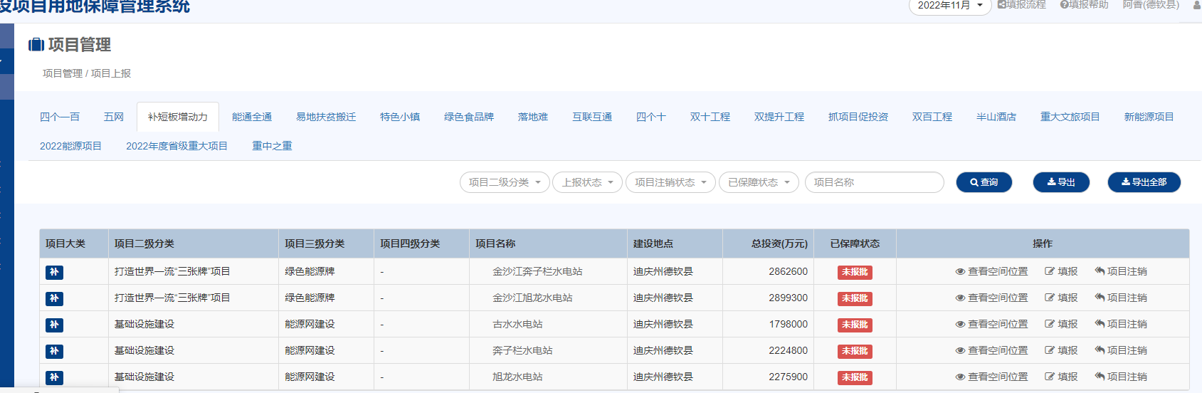
3、 5个“补短板增动力”项目如下图:

4、 8个“易地扶贫搬迁”项目如下图:

5、 2个“绿色食品牌”项目如下图:

6、 1个“互联互通”项目如下图:

7、 2个“四个十”项目如下图:

8、 1人“双十工程”项目如下图:

9、 5个“半山酒店”项目如下图:

10、 5个“2022年省级重大”项目如下图:

11、 1个“重中之重”项目如下图:
